Block Diagram Of Smoke Detector And Mobile Charger : Smoke level detector with alarm.

Block Diagram Of Smoke Detector And Mobile Charger : Smoke level detector with alarm.. A smoke detector alarm is a smoke detecting gadget that shows fire. Smoke detectors are very useful in homes, offices, schools, and industries. Block diagram of wireless smoke detection system. Smoke alarms are extremely helpful gadgets as the harm brought about by fire. These types of smoke detectors are best at sensing smoldering fires that create a lot of smoke smoke alarms come with all kinds of bells and whistles these days, but it all comes down to one job:

Block diagram of wireless smoke detection system. This is the simple gas smoke detector circuit diagram. Smoke alarms are extremely helpful gadgets as the harm brought about by fire. Hey friends in this video i will show you how to display the readings of smoke sensor to blynk application visit my website to download codes and circuit. 1 shows the circuit of the smoke detector, while fig.

Super Universal Battery Charger Circuit Diagram ...
Super Universal Battery Charger Circuit Diagram ... from 2.bp.blogspot.com
The type of detector which operates based on detection of smoke and consecutively generates alarm or signal is known as. Smoke alarms are exceptionally normal in homes, workplaces, schools, and industries. Smoke detectors are extraordinarily useful devices because the damage caused by fire. Check out the demo here. The circuit diagram for gas detector and smoke detector separated in different circuit design diagram which can be all of schematic diagrams (flame detector, gas detector and smoke detector) are quite simple and easy to built. Many newer designs of smoke detector use terminal strips or detachable terminal blocks. The initiating circuits that connect smoke detectors to a control panel should be supervised to detect and annunciate a fault (trouble). Featuring a solar charger kit from.

A smoke detector alarm is a smoke detecting gadget that shows fire.

Charging mobile phone might contribute to the flame. Hey friends in this video i will show you how to display the readings of smoke sensor to blynk application visit my website to download codes and circuit. 1 shows the circuit of the smoke detector, while fig. Smoke detector circuit diagram below does not use ionization detection, gas or optocouplers it use two photoresistors (ldr's) and an led. Traditional optical smoke detectors depend on an isolation chamber to prevent ambient light from reaching the optical. Consult the control panel manufacturer's specifications for the total loop resistance allowed for the particular model control. It relies on the smoke that is produced in the event of a fire and passes between a bulb and an ldr, the amount of light the block diagram of the project is of four sections. This is the simple gas smoke detector circuit diagram. Circuit diagram of this smoke detector project is given below: Smoke detectors are very useful in detecting smoke or fire in buildings, and so are the important safety parameters. A smoke detector electronic project can be designed using electronic diagram below. • provides the block diagram of the smoke detector system and details the functions of each block. Smoke detectors and heat detectors are used in these smoke alarm and fire alarm systems.

Smoke detectors and heat detectors are used in these smoke alarm and fire alarm systems. This is the simple gas smoke detector circuit diagram. Charging mobile phone might contribute to the flame. Smoke detectors are very useful in detecting smoke or fire in buildings, and so are the important safety parameters. Check out the demo here.

Steps to Build Simple Fire Alarm Circuit using Thermistor
Steps to Build Simple Fire Alarm Circuit using Thermistor from www.elprocus.com
A smoke detector device is a smoke sensing device that indicates a fire. Figure 3 shows a block diagram , provides the block diagram of the smoke detector system and details the nominal values for the , ionization smoke detector asic product specification r&e international timing diagram. Schematic diagram of smoke detector. The present concept of smoke alarms is based on this saying and. A smoke detector alarm is a smoke detecting gadget that shows fire. Smoke detectors are extraordinarily useful devices because the damage caused by fire. The ir diode is pulsed periodically, and the ir receiver signal is examined. Smoke alarms are extremely helpful gadgets as the harm brought about by fire.

The ir diode is pulsed periodically, and the ir receiver signal is examined.

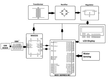
This instructable explains how to make a simple smoke detector using and arduino and a carbon monoxide sensor. Smoke detector system block diagram. This home smoke detector circuit warns the user against fire accidents. A smoke detector electronic project can be designed using electronic diagram below. The present concept of smoke alarms is based on this saying and. Common to today's world which are ionization and. Schematic diagram of smoke detector. Smart smoke and carbon monoxide detectors don't just sound the alarm, they also alert your smart phone and more. A smoke detector device is a smoke sensing device that indicates a fire. The level of smoke in our surrounding because of combustion. Featuring a solar charger kit from. Consult the control panel manufacturer's specifications for the total loop resistance allowed for the particular model control. These types of smoke detectors are best at sensing smoldering fires that create a lot of smoke smoke alarms come with all kinds of bells and whistles these days, but it all comes down to one job:

This is the simple gas smoke detector circuit diagram. Photoelectric smoke detectors are designed to sense smoke by utilizing these effects of smoke on light. An inquiry command is received by all smoke detectors and, if one of the detectors detects fire, it sends a message back to the controller. Check out the demo here. It relies on the smoke that is produced in the event of a fire and passes between a bulb and an ldr, the amount of light the block diagram of the project is of four sections.

Process Equipment Symbols | | Free CAD Blocks And CAD Drawing
Process Equipment Symbols | | Free CAD Blocks And CAD Drawing from i0.wp.com
Traditional optical smoke detectors depend on an isolation chamber to prevent ambient light from reaching the optical. 2 shows pin configurations of sensor h21a1 and transistor bc547. The initiating circuits that connect smoke detectors to a control panel should be supervised to detect and annunciate a fault (trouble). Smoke detector system block diagram. Block diagram of wireless smoke detection system. These types of smoke detectors are best at sensing smoldering fires that create a lot of smoke smoke alarms come with all kinds of bells and whistles these days, but it all comes down to one job: 1 shows the circuit of the smoke detector, while fig. Figure 3 shows a block diagram , provides the block diagram of the smoke detector system and details the nominal values for the , ionization smoke detector asic product specification r&e international timing diagram.

1 shows the circuit of the smoke detector, while fig.

Block diagram of wireless smoke detection system. A very simple to build smoke detector circuit has been discussed here through a schematic diagram, which can be easily built they say there cannot be a smoke without a fire; Common to today's world which are ionization and. In this circuit, we have used an mq2/mq6 smoke or gas. Many newer designs of smoke detector use terminal strips or detachable terminal blocks. The present concept of smoke alarms is based on this saying and. The circuit diagram for gas detector and smoke detector separated in different circuit design diagram which can be all of schematic diagrams (flame detector, gas detector and smoke detector) are quite simple and easy to built. Smoke alarms are exceptionally normal in homes, workplaces, schools, and industries. This is the simple gas smoke detector circuit diagram. Smoke detectors and heat detectors are used in these smoke alarm and fire alarm systems. The initiating circuits that connect smoke detectors to a control panel should be supervised to detect and annunciate a fault (trouble). Smoke detector wiring basics, how to make connections the right way. The circuit diagram for gas detector and smoke detector separated in different circuit design diagram which can be all of schematic diagrams (flame detector, gas detector and smoke detector) are quite simple and easy to built.

Related : Block Diagram Of Smoke Detector And Mobile Charger : Smoke level detector with alarm..